Type de la demande
BR Brevet
Sous-type de la demande
BR Brevet PCT
(10) Numéro et date d'enregistrement
019156 2020.02.06
Satut
528
(180) Date d'expiration
2029.03.25
(20) Numéro et date de dépot
OA 1/2010/000325 2009.03.25
(40) Numéro et date de publication
(86) PCT Numéro et date de dépoôt
(87) PCT Numéro et date de publication
(85) Date d'entrée en phase Nationale
(30) Détails de la priorité
GB 0805343.1
2008.03.25
(74) Nom du représentant
(FR) CABINET ISIS CONSEILS (SCP) : B.P. 15424, YAOUNDE
(54) intituler
(FR) Intervention method and apparatus
(57) Abrégé
(FR)

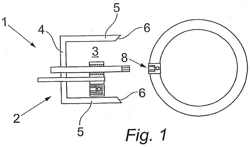
The present invention describes an apparatus (1 ) for establishing a subsea environment to enable an intervention operation to be carried out on a pipe, the apparatus comprising a frame (2) adapted to abut an outer surface of the pipe, sealing means (7) to enable the frame to be sealed against the surface of a pipe, and means for monitoring the condition of the seal, wherein the environment is established between the frame and the surface of the pipe and further describes a method of establishing a subsea environment to enable an intervention operation to be carried out on a pipe, the method comprising the steps of deploying a frame (2) subsea, locating the frame against the side of a pipe to establish the environment between the frame and the pipe, sealing the frame against the side of the pipe, and monitoring the condition of the seal.

FIG.1

(58) Citations
Type de document Date Action
Nom de l'événementDateSatut
Filing2009.03.25Filed
Registration2020.02.06Registered
-2020.02.07528